BC580Lx
![]() ![]() | BC580Lx Ex weighing indicator is designed for weighing and control application in hazardous fields. The BC580Lx can be used as drum-filling, material transferring, level indicator and also can transfer the weight information in hazardous out to PLC or SCADA by digital or analog communication, integrating field display and remote transmission at the same time, is an economical but efficient weighing solution for hazardous application. |
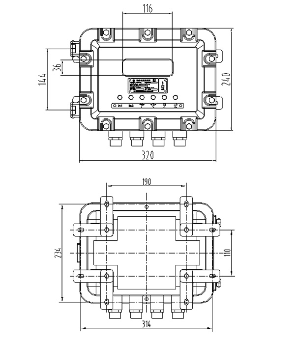
Dimensions(mm):
| Features: Classified area: Class II, Division 1 or 2, Group B, temperature code T6 Compact Panel Mount structure, save installation space New generation of embedded high speed processor, strong on anti-interference Optimized digital filter and quick following technology 4 ~ 20mA / 0 ~ 10V analog out available Over/under limit alarming Embedded material transfer control Embedded Setpoint comparison function Check-weigh control Auto zero tracking available Power-up zero available Isolated RS232 / RS485 serial interface Standard MODBUS RTU protocol 220VAC power supply (24VDC available) |
Specification:
Enclosure | Cast Aluminum | ||
Application | 2-speed material transfer mode, Setpoint comparison,Over/under, Check weigh,Reduction weigh,Peak force measurement,Gross/net fill | ||
Signal Range | -20mV~+20mV | Increments | 1,2,5 x 10n (n=-3 ~1) |
Max. Sensitivity | 0.5uV/d | Max. Resolution | 1/50,000 |
FS Drift | 3ppm/°C | Linearity | 0.003%FS |
AD Refresh Rate | 100Hz | Cells Load | Four (4) 350 ohm load cells |
Display | 7-digit 0.56’ segment LED | ||
Keypad | 6 keys | ||
Discrete I/O | 2 Inputs; 3 Outputs(220VAC @ 5A) | ||
USART | COM1: RS232; COM2: RS485 | ||
Serial Protocol | MODBUS-RTU, Command output, Continuous Output | ||
Option | 4~20mA/0~10V,Profibus DP | ||
Power Supply | 180~240VAC, 60mA; 24VDC, 150mA | ||
Operating Temperature | -10°C ~ +40°C,Relative humidity:10%~90%,non-condensing | ||
中文版



